ДР-П-50-20
Доступен для скачивания
краткий каталог продукции:
Датчик-реле потока (реле протока) лепестковый ДР-П-50-20 предназначен для контроля наличия потока воздуха, воды в трубопроводе, управления исполнительными устройствами, защиты оборудования от слабого или отсутствующего потока
Особенности:
- Вертикальное рабочее положение
- Малые габаритные размеры
- НО-контакт. При наличии потока контакт геркона замыкается
- Высокий ресурс срабатываний
- Монтируется в тройник на трубопроводе
Для увеличения коммутационной способности датчика-реле следует использовать промежуточные реле, например, MY, 55-02, 55-04, LY4 c управляющим напряжением =24 В и током потребления не более 300 мА. Также возможно использовать промежуточные реле с управляющим напряжением ~24 В. Для питания катушки промежуточного реле необходимы блоки питания, например, DR, MDR, БП97, БП67.

Технические характеристики:
| Параметр | Значение |
| Рабочая среда | Воздух, вода и другие неагрессивные жидкости |
| Максимальное давление рабочей среды
| 1,2 МПа |
| Температура рабочей среды | −20…+90°С |
| Min скорость потока для срабатывания | 1,5 л/мин |
| Мах коммутируемая мощность
| 10 Вт
|
| Мах коммутируемый ток
| =1 A (при =24 В)
|
| Мах коммутируемое напряжение
| =110 В
|
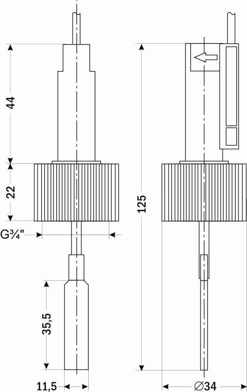
| Присоединение
| Накидная гайка, внутр. G¾" |
| Материал штуцера | Полипропилен
|
| Cтепень пылевлагозащиты
| IP65 |
| Длина провода
| 990 мм
|
| Габаритные размеры | ∅ 34×125 мм
|
| Вес
| 44 г |
| Габаритный чертеж
|
![]() |
Версия: 2023-06-28-ЛВС
| Документ | Дата обновления |
| Отказное письмо 02.03.2016 | 11.10.2022 |
| Паспорт на ДР-П-50-20 | 11.10.2022 |

