ДР-ПП-12-15
Доступен для скачивания
краткий каталог продукции:
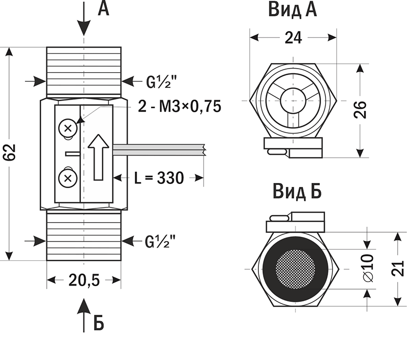
Датчик-реле потока (реле протока) поршневой подпружиненный ДР-ПП-12-15 предназначен для контроля наличия потока воды в трубопроводе, управления исполнительными устройствами, защиты оборудования от слабого или отсутствующего потока. При наличии потока в трубопроводе датчик-реле подает сигнал на выводы.
Особенности:
- НО-контакт, при наличии потока контакт геркона замыкается
- Встроенный входной фильтр грубой очистки: съемная сетка из нержавеющей стали
- Для корректной работы датчика направление потока жидкости должно совпадать с направлением стрелки на корпусе
Для увеличения коммутационной способности датчика-реле следует использовать промежуточные реле, например, MY, 55-02, 55-04, LY4 c управляющим напряжением =24 В и током потребления не более 300 мА. Также возможно использовать промежуточные реле с управляющим напряжением ~24 В. Для питания катушки промежуточного реле необходимы блоки питания, например, DR, MDR, БП97, БП67.

Для защиты прибора от попадания инородных частиц рекомендуется установить фильтр механической очистки перед датчиком-реле. Для герметизации резьбовых металлических соединений рекомендуется использовать анаэробные герметики.
Технические характеристики:
| Параметр | Значение |
| Рабочая среда | Вода, этиленгликоль и другие неагрессивные жидкости |
| Максимальное давление рабочей среды
| 1,2 МПа |
| Температура рабочей среды | 0…+60°С |
| Расход | 1,2...12 л/мин |
| Коммутируемая мощность | 50 Вт |
| Максимальный коммутируемый ток | =0,3 А |
| Максимальное коммутируемое напряжение | =250 В |
| Сопротивление изоляции
| 108 Ом |
| Ресурс работы
| ≥108 циклов
|
|
Время переключения
|
0,2 мс
|
| Присоединение | Наруж. G½" |
| Длина провода | 330 мм |
| Степень пылевлагозащиты
| IP67 |
| Материал
| Латунь
|
| Монтажное положение
| Универсальное
|
| Габаритные размеры
| 62×26×24 мм |
|
Вес
| 115 г |
| Габаритный чертеж
|
![]() |
Версия: 2023-03-31-ЛВС
| Документ | Дата обновления |
| Паспорт на ДР-ПП-12-15 | 10.04.2025 |

