ДР-ПП-01
Доступен для скачивания
краткий каталог продукции:
Датчик-реле потока (реле протока) поршневой ДР-ПП-01 предназначен для контроля наличия потока воды в трубопроводе, управления исполнительными устройствами, защиты оборудования от слабого или отсутствующего потока. При наличии потока воды в трубопроводе датчик-реле подает сигнал на выводы.
Принцип работы датчиков-реле основан на перемещении поршня внутри прибора. Поршень смещается под действием давления потока жидкости в трубе и замыкает контакты геркона. В случае отсутствия потока в трубе поршень возвращается в исходное положение под действием силы тяжести, что приводит к размыканию контактов. Направление движения потока должно соответствовать стрелке на корпусе датчика-реле.
Принцип работы датчиков-реле основан на перемещении поршня внутри прибора. Поршень смещается под действием давления потока жидкости в трубе и замыкает контакты геркона. В случае отсутствия потока в трубе поршень возвращается в исходное положение под действием силы тяжести, что приводит к размыканию контактов. Направление движения потока должно соответствовать стрелке на корпусе датчика-реле.
Для увеличения коммутационной способности датчика-реле следует использовать промежуточные реле, например, MY, 55-02, 55-04, LY4 c управляющим напряжением =24 В и током потребления не более 300 мА. Также возможно использовать промежуточные реле с управляющим напряжением ~24 В. Для питания катушки промежуточного реле необходимы блоки питания, например, DR, MDR, БП97, БП67.

Для защиты прибора от попадания инородных частиц рекомендуется установить фильтр механической очистки перед датчиком-реле. Для герметизации резьбовых металлических соединений рекомендуется использовать анаэробные герметики.
| Параметр | Значение
| |||||
| ДР-ПП-01-15 | ДР-ПП-01-20
| ДР-ПП-01-25 | ДР-ПП-01-32 | ДР-ПП-01-40 | ДР-ПП-01-50 | |
| Рабочая среда | Вода, этиленгликоль и другие неагрессивные жидкости | |||||
| Максимальное давление рабочей среды | 1,5 МПа | |||||
| Температура рабочей среды | −10...+110°С | |||||
| Минимальный расход
| 3 л/мин | |||||
| Максимальный расход
| 8 л/мин | 12 л/мин | 25 л/мин | 30 л/мин | 40 л/мин | 80 л/мин |
| Максимальная коммутируемая мощность | 50 Вт
| |||||
| Максимальный коммутируемый ток | =0,5 А (при =24 В)
| |||||
| Максимальное коммутируемое напряжение | =220 В | |||||
| Степень пылевлагозащиты
| IP67 | |||||
| Длина провода
| 410 мм
| |||||
| Материал | Латунь
| |||||
| Присоединение | внутр. G½" | внутр. G¾" | внутр. G1" | внутр. G1¼" | внутр. G1½" | внутр. G2" |
| Монтажное положение | Горизонтальное | |||||
| Габаритные размеры | 56×47×26 мм | 58×52×32 мм | 69×60×38 мм
| 93×78×49 мм
| 102×86×54 мм
| 115×92×67 мм
|
| Вес | 174 г
| 237 г | 392 г
| 599 г
| 708 г
| 1057 г
|
| Габаритные размеры |
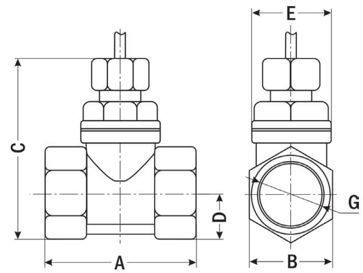
![]() |
| Размеры, мм | ДР-ПП-01
| |||||
| -15
| -20
| -25
| -32
| -40
| -50
| |
| A
| 47
| 52
| 60
| 78
| 86
| 92
|
| B
| 26
| 32
| 38
| 49
| 54
| 67
|
| C
| 56
| 58
| 69
| 93
| 102
| 115
|
| D
| 15
| 18
| 22
| 28
| 30,5
| 40
|
| ∅ E
| 25
| 29
| 32
| 45
| 50
| 56
|
| G
| ½"
| ¾"
| 1"
| 1¼"
| 1½"
| 2"
|
Версия: 2025-08-05-СДГ
| Документ | Дата обновления |
| Отказное письмо 02.03.2016 | 11.10.2022 |
| Паспорт на ДР-ПП-01 | 06.08.2025 |
| Информационное письмо 04.10.2012 | 20.01.2013 |

